GRM Flow Products block and bleed gauge valve is supplied in 316 stainless steel, ½” MNPT x ½” FNPT thread connection, straight pattern globe style, and rated for 10,000 PSI.
PRODUCT DETAILS:
| SIZE | PART# |
|---|---|
| 1/2" | NB150002 |
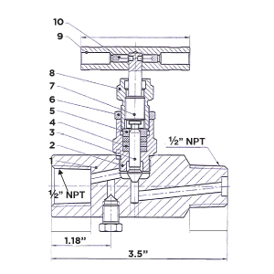
| # | PART | MATERIAL |
|---|---|---|
| 1 | Body | 316 SS |
| 2 | Bonnet | 316 SS |
| 3 | Lower Stem | 316 SS |
| 4 | Packing | PTFE |
| 5 | Gland | 316 SS |
| 6 | Lock Nut | 316 SS |
| 7 | Upper Stem | 316 SS |
| 8 | Packing Bolt | 316 SS |
| 9 | Handle | 304 SS |
| 10 | Set Screw | 18-8 SS |